背景
优化中心『添加新关键词』建议卡片,能够为广告主推荐适合其推广业务的新关键词,让广告展示给更多潜在目标客户,帮助广告主获得更多优质流量。为了满足广告主对关键词精细化管理的需求,2020年12月15日将对『添加新关键词』建议卡片进行升级。升级后『添加新关键词』会为您提供推荐新增的关键词的特色,帮助您更好地理解新增词的特点,搭配您的投放方案使用。
本次升级点:
1.关键词推荐列表【类型】筛选项新增「转化潜力词」
2.关键词推荐列表新增「拓词依据」信息
功能介绍
一、关键词推荐列表新增「转化潜力词」推荐关键词类型
1)转化潜力词:指的是具备高转化潜力的关键词,添加此关键词后如果广告质量和出价都具备竞争力时则获得转化增量的概率比较大,能够帮助您获得更好的投放转化效果
2)生效范围:针对全部单元生效
注:
热词:为您推荐高搜索量和高点击量的关键词,帮助您拓展相关流量
黑马词:为您推荐低竞争度和搜索量较高的关键词,帮助您轻松获得更多流量

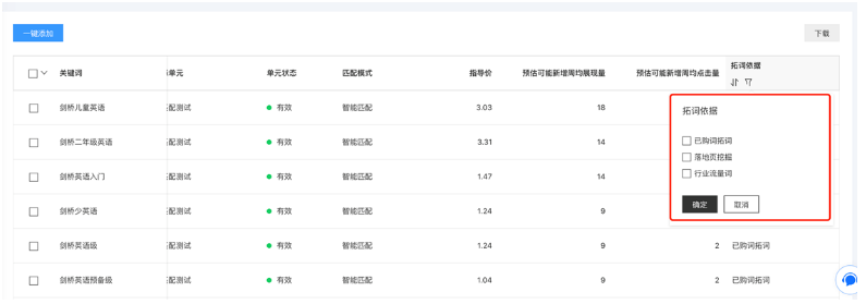
二、关键词推荐列表新增「拓词依据」信息
「拓词依据」是指推荐关键词的来源,分为以下几种类型:
1. 已购词拓词:分析您账户近期购买的关键词,提供搜索用户所关心的同类好词,帮助您的广告投放完整覆盖目标人群,拓展相关流量
2. 落地页挖掘:分析您账户近期的推广落地页的内容,提供和落地页信息相关的新关键词,帮助您提高落地页相关性,拓展相关流量
3. 行业流量词:分析近期同行业的用户搜索趋势,提供用户搜索热度较高的关键词,帮助您及时追踪用户热点,拓展相关流量

注意:「拓词依据」支持排序和筛选功能
三、Q&A
Q1: 转化潜力词是什么意思?对投放有什么帮助?与原oCPC「智能加词」功能是什么关系?
A1: 转化潜力词是指具备高转化潜力的关键词,当广告质量和出价都具备竞争力时,可为广告主带来更多的转化,其推词策略与原oCPC「智能加词」一致。为降低广告主使用oCPC出价策略的理解成本,我们将原oCPC智能加词从oCPC出价策略中分离,整合为优化中心-添加新的关键词「类型」列的「转化潜力词」选项,广告主可以自行选择类型添加关键词。
Q2:「拓词依据」选项有什么作用,其中的三种来源分别代表什么意思?
A2:广告主可在关键词推荐列表的「拓词依据」列查看各推荐关键词的来源,选择更适合自己推广业务的关键词。其中「已购词拓词」是指根据广告主近期购买的关键词,提供搜索用户所关心的同类好词;「落地页挖掘」是根据广告主近期的推广落地页的内容,提供和落地页信息相关的新关键词,帮助提高落地页相关性;「行业流量词」根据近期同行业的用户搜索趋势,提供用户搜索热度较高的关键词,帮助您及时追踪用户热点。

评论列表