一、如何提升某个问题下自己回答排名?
1、知乎回答排序设计原则
关于知乎回答排序的规则,大家都必须简单了解下,弄懂排名原理才能找到突破口来快速提升自己回答排名,我们直接来看下知乎官方权威说法:

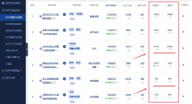
由此可见,知乎回答并非单纯按照投票数量由多到少来进行排序的。因为反对票是不显示在页面上,而且不同用户的投票对于排序影响也不同(权重价值),因此也会产生低票回答排在高票回答的前面这种现象。如下图5118知乎引流工具显示:

2、知乎回答排序影响因素
每一个平台都有自己固定的算法机制,而我们想做好知乎引流推广,就要把玩法往平台算法上靠近,从而不断去触发知乎的推荐机制。对于知乎回答排序,最重要影响因素有三方面:
(1)威尔逊算法
威尔逊算法是知乎最重要的算法,主要就是对排名和推荐产生影响,是我们必须研究的规则算法之一,先来看下威尔逊算法计算公式:

简单来解释:威尔逊算法主要是基于用户评价行为的排序算法,不管是文章、产品或者评论,主要是把用户认为有价值的内容都会优先排在前面的一种机制算法。所以:
专业、严格、认证的高质量回答,排序更靠前
新创作的优质回答,能更快获得更好的排序
(2)权重
权重会影响到相同赞同和反对下的回答排名,相同赞同和反对数的回答,权重越高,点赞排名上升越快,反对排名下降越慢。
但是要注意的是,权重是分领域的,并不是所有的领域都受用,如你经常回答电商领域的话题,则在电商领域的权重有所增加到100(假设值),没有回答过的行业领域,权重则有可能为0。

目前官方并没有公布权重计算公式,但是经过很多人不断测试后发现影响权重因素主要有以下几项:
• 点赞
• 收藏
• 感谢
• 盐值
• 个人成就,比如成为优秀回答者,回答被收录等
• 成为付费会员
• 实名认证
(3)盐值
盐值是影响知乎排名算法的关键因素,盐值分值越高,代表该用户专业友善且可信赖。然而,盐值的高低并不是为了让用户满意,而是希望能够通过用户的满意来触发平台的规则,让自己的回答能得到更高的曝光,进入更大的流量池里面。
我们可以从基础信用、内容创作、友善互动、遵守规范、社区建设等五个维度进行综合计算,提高盐值:
• 基础信用:完善个人资料,如呢称,简介,完成个人认证等等。
• 内容创作:优质的内容是一切的基础。要保持定期输出对用户有价值的干货。
• 友善互动:通过评论来表达自己的见解、观点,都属于互动,但不要使用有攻击性的语言攻击他人。
• 遵守规范:遵守知乎社区规则制度,不要抄袭他人的原创内容,如有引用需要注明出处。同时不要违法知乎反作弊机制。
• 社区建设:自己的输出的内容不带有政治性言论,不参与政治讨论,不带有敏感字眼,更不选择存在争议的话题。

3、如何提升自己回答排名

(1)垂直领域持续创作提高权重
因为专业,才能够获得被信任。所以,想要提升自己回答排名,需要保持垂直领域持续创作,不要随意的更改行业领域内容,如今天输出教育知识,明天输出美容知识,这样会带给用户困扰、不专业的感觉。
(2)优质内容才是核心
知乎的用户是公认的高学历,高质量的内容才能打动他们。所以,想要提升自己的回答排名,一定要回答出用户感兴趣的,专业性较高的干货内容,有价值文章肯定会受欢迎,排名也会更高。
(3)适当冷启动操作
据研究表明,知乎通过发布的内容做过数据分析,有时候难以确保发布的回答及时获得赞数。因此,为了鼓励企业的自主创作及减少作弊行为,将启动适当的冷启动操作,即在一定的时间内,获得足够的赞数,就可以增加曝光量。

只不过,冷启动也是有时间限制的,超过2个小时再进行点赞,这样的推荐率不高,即不利于转化。
二、如何提升知乎站内排名?
1、投放知+额外加权
知+投放的回答/文章,在关键词搜索结果中,是明确对排名有加权的。但是,如果你的内容质量不高,或者内容和搜索词相关度低时,是无法获得排名的。
另外,知+有首页推荐、下一个回答推荐、搜索推荐3个模式,而优质内容的首页推荐不仅能够精准触碰到用户,更是以原生化的广告形式出现。回答推荐的场景也是知乎独有的,可以在精准问题内的用户下滑或者点击下一个回答,优先推荐你的回答,排名会更靠前,收割到更多的精准流量。

而且知+可以对搜索进行出价,当标题命中用户搜索词时,排名也会更靠前。

目前,知+支持以下五种转化路径,它能够覆盖用户的每个浏览路径,缩短货比环节时间,从而实现加速转化。
• 外链跳转
• 微信转化路径(一键复制吊起微信添加或一键分享朋友圈加关注)
• 商品页路径(京东淘宝等)
• 小程序路径(小程序商城)
• 下载路径(兼容双端)

2、提高搜索关键词匹配
如果想让自己一些回答、文章、视频的排名在知乎站内排名更靠前,更多时候衡量的是该用户的综合情况,例如账号权重、粉丝、点赞、收藏等等,想短期内综合提升有一定困难。
这时候就有一个小技巧:
因为知乎站内排名往往是与用户搜索结合在一起的,所以我们写标题时要击中搜索词(可布局搜索量大词),当内容也有一定质量时,很大概率会比标题里没含该词的排名好。

三、如何提升知乎回答站外排名?
以知乎在百度排名为例,最快最有效方法是利用像5118/新知魔方等知乎大数据工具,直接找出在百度排名靠前的问题,然后再快速筛选出关注量大,但回答量少的蓝海问题,站外排名根本就不用担心了。


评论列表